上海恒點傳動設備有限公司
加微信聯系 恒點減速機QQ2:51228482
[HTML] [XML]  産品展示産品展示-RSS  新聞中心新聞中心-RSS  技術支持技術支持-RSS
産品分類: 減速機蝸輪絲杆升降機轉向箱蝸輪蝸杆減速機齒輪減速機行星齒輪減速機擺線針輪減速機無級變速機大功率減速器
上海恒點傳動設備有限公司
資訊分類
和産品相關的技術文章
當前位置 :網站首頁 > 技術支持 > 圓錐齒輪減速器箱體形位公差(JB/ZQ4283-86)

圓錐齒輪減速器箱體形位公差(JB/ZQ4283-86)

Tags: HB标準工業齒輪箱    發布時間: 2014-12-01
該标準适用於軋鋼設備的圓錐齒輪減速器。一般用途的圓錐齒輪減速器也應參照使用。
1.箱體有關公差值
a.軸承端面距離f的公差見表8-55。
表8-55軸承端面距離f的公差 (mm)
軸承端面距離f
>30~120
>120~400
>400~1000
>1000~2000
>2000~4000
公差
±0.15
±0.20
±0.30
±0.50
±0.80
b.形位公差 箱體軸線的平行度 、軸線的垂直度、接合面和支承面的平行度和平面度、和端面跳動的公差見8-56。軸承孔的圓柱度公差見表8-57。
表8-56箱體形位公差 (mm)
軸承中心距LG
~50
>50~125
>125~280
>280~560
>560~1000
>1000~1600
>1600~2500
>2500~4000
公差(μm)
16
20
25
32
40
50
63
80
表8-57軸承孔的圓柱度公差 (mm)
軸承孔直徑
>80
~120
>120
~180
>180
~250
>250
~315
>315
~400
>400
~500
>500
~630
>630
~800
>800
~1000
公差(μm)
8
9
15
16
18
20
22
25
28
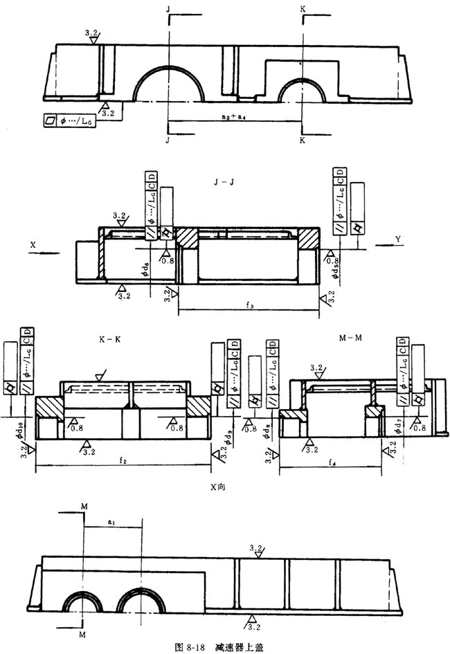
1)減速器中座(圖8-17)和上蓋(圖8-18)中基準同減速器底座(圖8-16);在減速器底座、中座和上蓋中所用的尺寸代号,是按整機排列的。
圓錐齒輪減速器箱體形位公差
圓錐齒輪減速器箱體形位公差
圓錐齒輪減速器箱體形位公差
2.圓錐齒輪減速器箱體形位公差的标注(見圖8-19)
圓錐齒輪減速器箱體形位公差
上一篇 上一篇: 圓弧圓柱齒輪精度公差關系式(JB4021-85)
下一篇 下一篇 : 雙頭螺柱内容 、引用标準(GB897-88)
相關新聞文章 > 查看更多
錐齒輪承載能力計算方法第 2 部分:齒面接觸疲勞(點蝕)強度計算齒面工作硬化系數ZW(GB/T10062.2-2003) 2025-05-12
12L14和45#鋼性能的區别 2025-04-02
公差與偏差的區别在哪? 2024-12-30
什麽是模鑄軸承鋼和連鑄軸承鋼 2024-11-08
軸承損壞後是否可以修複 2024-11-06
PWM和PAM的不同點是什麽? 2024-09-24
圓柱齒輪 檢驗實施規範 第3部分:齒輪坯、軸中心距和軸線平行度齒輪坯的精度(GB/Z18620.3-2002) 2024-08-28
圓柱齒輪 、錐齒輪和準雙曲面齒輪膠合承載能力計算方法第2部分:積分溫度法影響因素(GB/Z6413.2-2003) 2024-06-06
齒根彎曲強度計算尺寸系數YX(GB/T10062.3-2003) 2024-04-25
諧波傳動減速器标志 、包裝、運輸、貯存(GB/T14118-93) 2024-03-25
提高數控機床可靠性的方法2:採用技術成熟的模塊化部件 2024-01-23
減速機油封漏油的原因1-裝配原因 2021-04-08
返回頂部 關閉本頁】 【打印本頁
電 話:021-22815912  021-22816186  傳 真:021-32050712   郵箱:sales@021jsj.cn  減速機 絲杆升降機 轉向箱 蝸輪蝸杆減速機
Copyright©2009-2026上海恒點傳動設備有限公司 版權所有  地址:上海市金山區亭林鎮林寶路39号  郵編:200442  滬ICP備10206998号-2 
友情鏈接機械設備網 | 渦街流量計 | 輸送機 | 變頻控制櫃 | 破碎機 | 工業同城 | 手持終端 | 柴油發電機 | uv平闆打印機 | 風淋室 | QUV | 防火門 | 九愛圖紙 | 感應加熱設備 | 輸送帶廠家 | 噪聲治理 | 西門子plc | 拖鏈電纜 | AGV | 機械雜志 | 現代機械 | UWB高精度定位 |